About
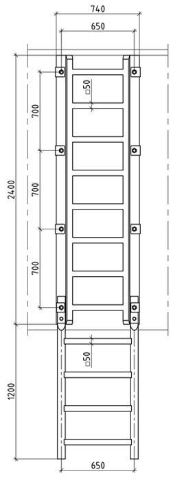
We provide ladders made from PU, rubber or steel. Steel Ladders are delivered in one piece, PU and Rubber Ladders are modular and flexible. These ladders are corrosion resistant and can be equipped with additional steel extensions.
All three types are available with optional handrails. Rubber Ladders resist deformation and even provide some fendering.
Characteristics
- Highly customized solution for special applications
Applications
- Various applications in a marine environment
Downloads
Click here to download Product Catalogue




